当前时间:2026年05月04日 19:00:31
    当前位置 > 首页 > 医院新闻
    喜讯! 药师创新成果获国家发明专利
    所属分类:[医院新闻]      来源:      更新时间:2025-04-24     

    近日, 药学人员在创新发明上再次取得突破成果,由药学部副主任方翎牵头,与药物临床试验机构药师郭岱年、静脉用药调配中心药师黄晓婷设计的一种便携式简易手握式输液袋检漏器获国家发明专利授权。这是肿瘤医院药学部取得的第三项国家发明专利,也是静配团队取得的第二项国家发明专利。

    图片 1.png



    该发明设计能通过简易操作检查输液袋漏液情况,有体积小、操作简易、检测结果清晰易于分辨等优点,带有PH检测功能可初步判断破损输液类型,可及时发现药液渗漏导致的剂量误差、微生物污染等问题,从源头保障患者输液安全。

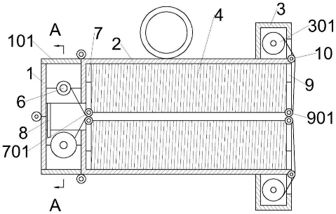
    图片 2.png

    一种便携式简易手握式输液袋检漏器简易图


    【科室介绍】

    药物临床试验机构于2005年10月24日获得CFDA药物临床试验机构资格认定,是我国最早获批的机构之一。至今已开展药物临床试验至今将近20年。近3年来,我院药物临床试验机构踏踏实实地发展,每年项目经费均超过1000万。在官方发布的《全国GCP机构药物临床试验量值排行榜》中进入前300强。业务量和排名均在粤东地区稳居第一。


    药学部静脉用药调配中心建成于2009年11月,是粤东首家静脉用药集中调配技术部门,拥有丰富的抗肿瘤药物调配经验,药学专业技术能力过硬,参与临床试验用药品调配与管理超过80项,为各级医疗机构输送静配人才,现拥有实用新型专利多项,国家发明专利2项。于2019初获评汕头市青年文明号集体。


    (药学部)


Baidu
map